Aller au contenu
Agence de brevets Fournier
  • Services
  • À propos
  • FAQ
  • Nouvelles
  • Contact
Contactez-nous

US patent

Brevet obtenu par GESTION LOGISCASA INC

octobre 26, 2025septembre 23, 2025 par Claude Fournier
Brevet Gestion Logicasa - System for sealing a house foundation crack

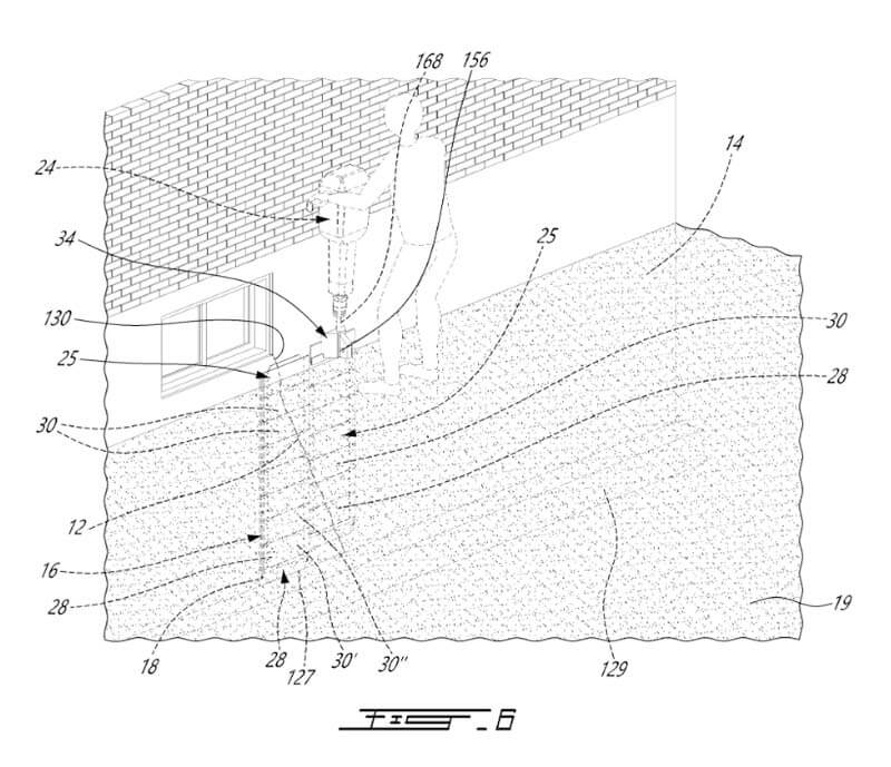
GESTION LOGISCASA INC. obtient, le 23 septembre 2025, le brevet aux États-Unis No. US 12,421,744 B2 sur un « System and Process for Sealing a Foundation Crack»

Catégories Brevets et dessins obtenus pour nos clients, États-Unis Étiquettes construction-innovation, crack-sealing, foundation-crack, gestion-logiscasa, patent-grant, US patent

Demers, Manufacturier d’Ambulances Inc. obtient, le 10 juin 2025, le brevet aux États-Unis No. US 12,325,348 B2 sur un « Emergency Lights Assembly for Emergency Vehicles Provided with an Air Conditioning Unit ».

juin 10, 2025 par Claude Fournier

https://patentcenter.uspto.gov/applications/18596182

Catégories Uncategorized Étiquettes agence de brevets fournier, brevet, US patent

EcoloPharm Inc. de Chambly obtient un brevet américain de dessin pour son Eco-Pill (TM)

octobre 30, 2024octobre 22, 2015 par Claude Fournier

EcoloPharm Inc. a obtenu le 13 octobre 2015 brevet de dessin américain No. D740,691 pour son Eco-Pill(TM).

getImage

Catégories Brevets et dessins obtenus pour nos clients Étiquettes brevet, design, dessin, Eco-Pill, Ecolopharm, US patent

Services

  • Services
  • À propos
  • FAQ
  • Nouvelles
  • Contact

Nouvelles

  • Design patents et interfaces utilisateur : les nouvelles règles du USPTO (2026)
  • Ecolopharm obtient un dessin industriel pour une fiole avec volume variable
  • Ecolopharm obtient un dessin industriel pour une fiole sécuritaire en 2 parties

Nous joindre

info@abfournier.com

T. 450-724-0960
F. 450-724-0961

216 St-Laurent
La Prairie (Québec) J5R 1H41

Contacter
  • Politique de témoins
  • Politique de confidentialité
  • Clause de non-responsabilité
  • Conditions générales
  • Sitemap
© 2026 Agence de brevets Fournier • Construit avec GeneratePress
Gérer le consentement

Pour une expérience optimale nous utilisons des témoins pour stocker et/ou accéder aux informations des appareils. Votre accord aide à traiter des données comme le comportement de navigation sur ce site. Votre refus pourrait affecter certaines fonctions.

Fonctionnel Toujours activé
Le stockage ou l’accès technique est strictement nécessaire dans la finalité d’intérêt légitime de permettre l’utilisation d’un service spécifique explicitement demandé par l’abonné ou l’utilisateur, ou dans le seul but d’effectuer la transmission d’une communication sur un réseau de communications électroniques.
Préférences
Le stockage ou l’accès technique est nécessaire dans la finalité d’intérêt légitime de stocker des préférences qui ne sont pas demandées par l’abonné ou l’utilisateur.
Statistiques
Le stockage ou l’accès technique qui est utilisé exclusivement à des fins statistiques. Le stockage ou l’accès technique qui est utilisé exclusivement dans des finalités statistiques anonymes. En l’absence d’une assignation à comparaître, d’une conformité volontaire de la part de votre fournisseur d’accès à internet ou d’enregistrements supplémentaires provenant d’une tierce partie, les informations stockées ou extraites à cette seule fin ne peuvent généralement pas être utilisées pour vous identifier.
Marketing
Le stockage ou l’accès technique est nécessaire pour créer des profils d’utilisateurs afin d’envoyer des publicités, ou pour suivre l’utilisateur sur un site web ou sur plusieurs sites web ayant des finalités marketing similaires.
  • Gérer les options
  • Gérer les services
  • Gérer {vendor_count} fournisseurs
  • En savoir plus sur ces finalités
Voir préférences
  • {title}
  • {title}
  • {title}